新闻中心Info
合作客户/
拜耳公司 |
同济大学 |
联合大学 |
美国保洁 |
美国强生 |
瑞士罗氏 |
相关新闻Info
推荐新闻Info
-
> 耐擦刮无胶消光膜制备方法、高表面张力与收解卷顺畅性的平衡(二)
> 耐擦刮无胶消光膜制备方法、高表面张力与收解卷顺畅性的平衡(一)
> 利用超微量天平制备微孔淀粉处理含Cu(II)离子染料废水
> 不同类型的碱、pH值对孤东油田原油界面张力的影响(下)
> 不同类型的碱、pH值对孤东油田原油界面张力的影响(上)
> 不同结晶结构的脂肪晶体颗粒界面自组装行为、储藏稳定性研究
> 新型POSS基杂化泡沫稳定剂表面张力测定及对泡沫压缩性能的影响(三)
> 新型POSS基杂化泡沫稳定剂表面张力测定及对泡沫压缩性能的影响(二)
> 新型POSS基杂化泡沫稳定剂表面张力测定及对泡沫压缩性能的影响(一)
> 多功能膜材研发:界面张力已成为整套工艺链协同下动态演化的核心控制点
医学检测用涂片装置新设计可降低液体因表面张力形成的回弹溅起
来源:长沙千麦医学检验实验室有限公司 浏览 947 次 发布时间:2024-08-14
涂片是检测血液中或者体液中的包括淋球菌、新型隐球菌、梅毒螺旋体、白喉棒状杆菌等病原体的一种检查方法,被广泛应用于医学领域,而检验科用涂片器作为一种用于进行涂片检测的医疗器械,在进行检验作业的过程中普遍使用。
现有技术中的涂片装置在涂片时,待检测液体容易因静置而产生沉淀,无法保持样液的均匀性,进而在检测时影响检验的准确性,授权公告号为CN116990099B的中国专利公开了一种医学检验用涂片器,通过设置正反向变速旋转匀液机构、拆卸式样液盛放筒、自控式涂布装置、涂片厚度限位装置、载玻片放置件和涂片箱,采用持续正反向变速旋转匀液的方式,具有保持样液均匀性持续统一的技术效果,进一步提高了检验的准确性。但是当将待检测液滴落到承载片上时,由于液滴具有表面张力,待检测液的液滴在滴液时不容易滴落,且在滴落后通常会溅开,使待检测液的量产生损耗,不利于后续的涂片操作。
本发明提供一种医学检测用涂片装置,通过设置外壳、涂片台和滴液机构配合,采用手动和电动相结合的方式,利用滴液筒的转动和气流促使待检测液滴落,同时待检测液的液滴转动产生的离心力可以减弱液滴落在涂片台上后由于表面张力形成的回弹,进而可以降低液滴回弹溅起所造成的待检测液量的损耗。
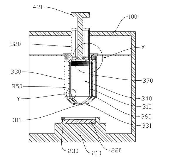
图中:100、外壳;101、第一隔板;102、第二隔板;110、第一电机;200、涂片台;210、台体;220、承载板;230、推板;300、滴液机构;310、滴液筒;311、出液口;312、第二气口;320、副筒;330、外筒;331、进气口;340、滴液腔;350、第一空腔;360、混合筒;361、第一气口;370、第二空腔;400、排气机构;410、排气板;411、排气口;420、转动板;421、把手。
一种医学检测用涂片装置,包括外壳100、涂片台200和滴液机构300。滴液机构300包括滴液筒310、副筒320和外筒330。滴液筒310能够绕第一方向转动地安装于外壳100上,第一方向为竖直方向。滴液筒310内装有待检测液。副筒320与滴液筒310同轴设置并套接于滴液筒310内,外筒330与滴液筒310同轴设置并套接于滴液筒310外,将沿第二方向靠近滴液筒310中心轴线的一侧称为内,沿第二方向远离滴液筒310中心轴线的一侧称为外,第二方向与第一方向垂直,第二方向为水平方向。
副筒320和滴液筒310之间限定出滴液腔340,滴液筒310上开设有出液口311,滴液腔340与出液口311连通。涂片台200安装于外壳100上,出液口311和涂片台200在第一方向上依次设置,且当出液口311滴出一个待检测液的液滴时,液滴沿第一方向上靠近涂片台200的一端能够与涂片台200接触。外筒330上具有第一空腔350,外筒330上开设有进气口331,进气口331设置在出液口311外侧,进气口331与第一空腔350连通。滴液筒310绕第一方向转动能够分别促使副筒320和外筒330沿第一方向移动,且在进行滴液操作时,副筒320沿第一方向移动能够使滴液腔340体积变小,外筒330沿第一方向移动能够使第一空腔350体积变大。
本实施例通过设置外壳100、涂片台200和滴液机构300配合,在进行滴液操作时,使滴液筒310绕第一方向转动,当滴液筒310转动时,将促使副筒320和外筒330沿第一方向移动,且此时副筒320移动使滴液腔340体积变小,外筒330移动使第一空腔350体积变大。而滴液腔340体积变小将使滴液腔340内的待检测液从出液口311挤出,由于滴液筒310绕第一方向转动,因此从滴液腔340内推出的待检测液也将转动,进而使得当待检测液沿第一方向靠近涂片台200的一端与涂片台200接触时,随着滴液筒310的持续转动,将在滴液筒310与待检测液连接的一端形成一个扭转力,进而促使待检测液滴落,避免液滴因其表面张力的作用不容易断开,且在进行滴液操作时,第一空腔350体积变大后,第一空腔350内部将产生负压,进而使外界气体能够从进气口331进入第一空腔350内,而当气体从进气口331经过时,随着滴液筒310的转动,气流将在出液口311的周向方向上产生一个挤压力,进一步促使液滴与出液口311脱离。
又因为待检测液的液滴的转动具有惯性,当待检测液与滴液筒310脱离时,待检测液的液滴转动使得待检测液在滴落到涂片台200上摊开后的面积更大,利于后续的涂片操作。同时待检测液的液滴转动产生的离心力可以有效减弱液滴落在涂片台200上后,由于表面张力形成的回弹,进而可以降低液滴回弹溅起所造成的待检测液量的损耗。


