拜耳公司 |
同济大学 |
联合大学 |
美国保洁 |
美国强生 |
瑞士罗氏 |
基于液滴机械振动的液体表面张力测试方法
来源:本站原创 浏览 442 次 发布时间:2019-08-01
液体表面张力是液体的重要性质,在常温体系中,用它可以确定表面活性并计算表面活性剂在溶液表面的吸附量。测定表面张力的方法很多,按测量原理可分为动力学法和静力学法,动力学法是通过测量决定某一过程的数值来计算表面张力,而静力学法则是通过测定某一状态下的某些特定数值来计算表面张力。基于液滴在水平玻片上自然形成形状计算表面张力的静滴法是一种静力学方法,传统的静滴法是根据物理学中的Laplace's equation(拉普拉斯方程),通过液滴的轮廓和表面张力的关系进行计算,但计算繁琐,易出错且费时。
奥地利科学家发现声源与观察者之间的相对运动,会使得观察者听到的声音振动频率不同于声源。当声源远离观测者时,声波波长增加,音调变得低沉,但声源接近观测者时,声波的波长减小,音调变高,这种现象被称为多普勒效应,适应于所有类型的波。本发明所采用的多普勒超声仪,是基于超声多普勒技术,利用超声波穿透能力强,衍射程度小等物理特性,并结合多普勒效应,将液滴自由振动的周期性蕴藏超声多普勒频移信号中。
基于液滴机械振动的液体表面张力测试方法技术方案:
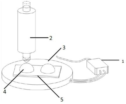
一种基于液滴机械振动的液体表面张力测试方法,采用多普勒超声探头将自由液滴的表面毛细波振动转换为多普勒频移信号,经计算机信号处理模块收集并进行数据处理,具体包括以下步骤:
(1)在多普勒超声仪的超声探头上放置疏水基片,通过微量注射器产生液滴于疏水基片上;
(2)通过具有自动回弹功能的振动触发装置使液滴发生振动,振动触发装置回弹后,液滴发生自由振动;

(3)超声探头将液滴的自由振动转换为多普勒频移信号并加以放大;
(4)计算机信号处理模块对多普勒频移信号采集得到液滴自由振动特征图,傅里叶变换后得到振动频率特征图,分析振动频率特征图并读取二倍频峰频率;
(5)重复步骤(1)至(4),测定不同质量液滴的二倍频峰频率,之后以液滴质量的倒数为横坐标,以二倍频峰频率的平方为纵坐标作图拟合直线,求出直线斜率,然后进一步得到液滴表面张力。
所述振动触发装置带有具有自动回弹功能的尖端,设于疏水基片的上部。
所述振动触发装置的尖端为聚四氟乙烯材质。
所述疏水基片与超声探头之间通过凝胶层耦合。
所述微量注射器产生液滴的质量为5-20mg。
步骤(4)中计算机信号处理模块包括用于数据采集的Audition软件以及用于数据处理的origin软件。
步骤(5)计算液滴表面张力所依据的公式为:
其中,fn为液滴表面波的振动频率,从振动频率特征图中获得,n为液滴的振动模式,m为液滴的质量,γLV为液滴表面张力。
本文所使用的方法是基于Lamb公式和Noblin提出的关于表面毛细波的色散性和质量之间的关系,通过一系列计算得到液滴表面张力。当液滴放置在与它不润湿的基片上并发生自由振动时,若其表面波的波长较小,则表面张力起主导作用。
多普勒超声仪是由超声发射器发出连续超声,当遇到自由振动的液滴,反射回来的超声已是改变了频率的连续超声,它被反射超声接收器接受并转为电信号,此信号与仪器的高频振荡器产生的信号混频以后,经高频放大器放大,然后解调出差频信号。多普勒超声仪的超声探头采用非聚焦连续波多普勒原理,超声探头由与疏水基片耦合的超声换能器及电路部分组成,它将液滴的特征自由振动通过多普勒频移原理转化为特征频移信号并加以放大。
采用多普勒超声仪的探头,提供了稳定的表面波信号解调系统,减少空间尺寸,基于简单计算公式对振动频率进行分析并计算表面张力,设备造价低,仪器性价比高;操作简便、省时,能快速取得准确可靠的结果;测量范围广;试剂用量少,原则上只需要几十微升液体即可;可以进行连续的表面张力测定;具有触发振动作用的聚四氟乙烯尖端对形成的表面施加的影响较小,表面张力的测量精度主要取决于频率的测量精度。

